De nouveaux brevets montrent que la marque bavaroise envisage de développer des ailerons mobiles. Il n’y a pas beaucoup de détails dans le brevet, mais BMW travaille peut-être sur des winglets pour ses futures superbikes.
La dernière génération de la BMW S 1000 RR est arrivée sur le marché peu de temps avant que divers concurrents prouvent que les winglets n’étaient pas exclusivement réservées aux prototypes MotoGP – et maintenant la firme revient au-devant de la scène en développant la technologie des ailerons mobiles.
Avec Ducati et Honda optant tous les deux pour ajouter des winglets à leurs hypersports cette année, il est clair qu’il s’agit d’une technologie que toutes les hypersports adopteront dans le futur. Avec les règles du WSBK qui n’autorisent les ailerons que s’ils sont montés de série sur la version homologuée, il est inévitable que nous entrons dans une ère de surenchère technique alors que les usines engagées dans ce championnat se démènent pour grapiller le moidre avantage sur la piste. Et il y a également un avantage marketing pour les modèles routiers : la force d’appui de votre moto à 130 km/h pourrait bientôt être une caractéristique mentionnée à côté de la puissance et du poids.

Jusqu’à présent, les ailerons apparaissant sur des motos de série découlent de ce qui a été observé en MotoGP. Cela a du sens d’un point de vue marketing et permet d’économiser de l’argent car la R&D a déjà été effectuée sur ces conceptions aérodynamiques. Cependant, les règles du MotoGP imposent des limites strictes sur les tailles et les positions des ailetons, ainsi que l’interdiction des surfaces aérodynamiques mobiles. Dans la rue, il n’y a pas de telles restrictions et les règlements de course actuels de la WSBK sont également ouverts à l’utilisation de conceptions d’ailerons plus extrêmes, y compris des versions mobiles, à condition qu’ils doivent également être utilisés sur les motos de série.
Cela nous amène à la dernière idée de BMW : des ailerons avant et arrière, montés sur la suspension plutôt que sur le carénage, qui peuvent se déplacer dans plusieurs directions pour ajuster leurs caractéristiques d’appui et de traînée.

Bien que de telles conceptions ne soient pas légales en MotoGP, ce n’est pas une catégorie dans laquelle BMW est engagée. Ainsi, leur intention semble être de vouloir repousser les limites du possible.
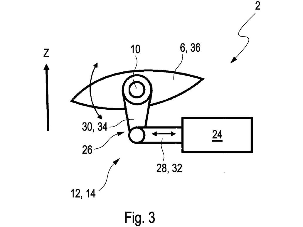
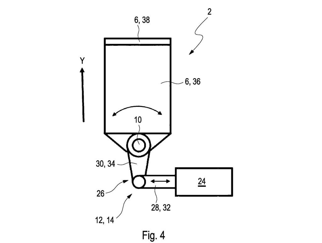
Les images du brevet qui montrent les idées de développement sont généralement simplistes, illustrant le concept sans donner trop de détails en termes d’apparence finale. Cependant, en plus d’illustrer les profils aérodynamiques normaux montés sur les carénages, ils montrent une disposition alternative avec des ailerons montés sur la fourche et le bras oscillant.
Il est logique de placer les ailerons directement dans les parties non suspendues de la moto plutôt que sur le carénage, car cela signifie que leur appui agit directement sur les roues. Les premières tentatives de mettre des ailerons sur les F1 ont suivi un développement similaire, avec des profils aérodynamiques attachés aux montants de suspension plutôt qu’à la carrosserie – jusqu’à ce que cette idée soit interdite.

La conception définie dans ce brevet permet également aux surfaces aérodynamiques de se déplacer sous le contrôle d’un calculateur spécifique et d’actionneurs fixés à chaque aileron. Nous avons vu d’autres brevets explorer cette idée, en particulier chez Honda, mais BMW pousse la réflexion un peu plus loin. L’idée de Honda, qui n’a pas encore été vue sur une moto de série mais qui figure dans plusieurs brevets, est d’utiliser des ailerons rétractables qui sortent du flux d’air lorsqu’ils ne sont pas nécessaires, ce qui réduit la traînée. BMW, en revanche, vise à modifier l’angle de ses ailerons en fonction de la vitesse, de l’accélération et des positions des gaz et des freins. Dans sa forme la plus simple, le brevet montre un seul actionneur attaché à chaque aileron.
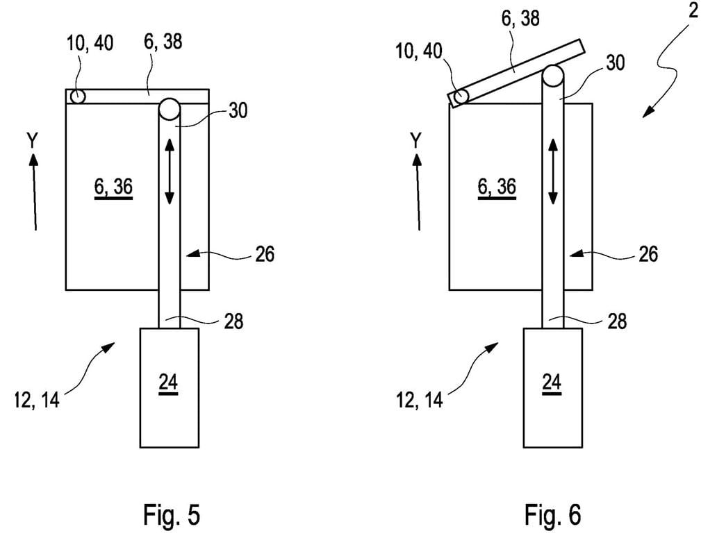
Cependant, le dernier brevet pousse cette réflexion encore plus loin. Les ingénieurs de BMW suggèrent que des actionneurs supplémentaires pourraient être utilisés pour modifier l’angle des ailerons dans le plan avant-arrière, les faisant bouger comme les ailes pivotantes d’un F-14 Tomcat. Une autre idée montre qu’un autre actionneur pourrait être utilisé pour étendre les sections de volet aux extrémités des ailerons, bien que le brevet ne décrive pas l’avantage aérodynamique qui en serait tiré.

Il y a de fortes chances que les mouvements de contrôle les plus extrêmes suggérés dans le brevet de BMW permettent à la société de protéger intellectuellement le plus de cas possibles plutôt qu’une véritable indication que la firme Allemande a l’intention de mettre en œuvre les idées.






