BMW développe de plus en plus sa gamme de véhicules électriques, que ce soit les voitures comme les motos, mais l’entreprise est clairement consciente que les soucis d’autonomie sont un gros obstacle pour les véhicules à batterie. Sa dernière solution est une moto remorquée qui agit comme un prolongateur d’autonomie pour les voitures électriques.
Cette idée n’est pas si farfelue qu’elle le semble, car elle a été révélée dans une demande de brevet récemment déposée en Allemagne. La configuration est inhabituelle mais elle a beaucoup de sens. Dans le passé, BMW a utilisé la puissance de la moto comme prolongateur d’autonomie dans les voitures électriques. La voiture électrique i3 utilisait déjà un prolongateur d’autonomie, nommé Rex (pour Range Extender) avec le bicylindre de 647 cc issu du scooter C650, installé dans le coffre de la voiture. Il fonctionnait comme un générateur pour recharger la batterie de la voiture pendant que vous conduisez et permettait dédoubler son autonomie à quasiment 350km.
Mais il y avait un problème idéologique associé à l’i3 équipée de son prolongateur d’autonomie, REx : pourquoi transporter un moteur thermique alors que la plupart des trajets sont suffisamment courts pour être effectués uniquement à l’énergie électrique ? Le même argument s’applique à l’utilisation de batteries massives à longue autonomie dans les véhicules électriques. La plupart du temps, vous portez simplement un poids mort et les performances et l’autonomie en souffrent.

La solution proposée dans le nouveau brevet de BMW consiste à utiliser un moteur de moto qui peut être remorqué derrière une voiture électrique pour servir de générateur de prolongateur d’autonomie sur les longs trajets, et laissé à la maison lorsque vous effectuez des trajets plus courts.
Mais pourquoi s’arrêter là ? Si vous utilisez un moteur de moto dans une sorte de cadre avec au moins une roue attachée pour agir comme une remorque, suggère l’auteur du brevet, pourquoi ne pas utiliser une moto complète ? C’est l’idée suggérée par ce brevet.
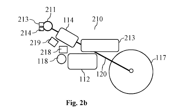
Ainsi, la moto peut être utilisée de façon conventionnelle, avec le moteur entraînant la roue arrière, mais qu’il est également équipé d’un générateur surdimensionné pour produire suffisamment d’électricité pour recharger votre voiture électrique. Le concepteur suggère que, sous forme de prolongateur d’autonomie, vous pourrez retirer la fourche et la remplacer par un système d’attelage pour transformer la moto en remorque, avec des câbles électriques se branchant sur la batterie de la voiture et des systèmes pour connecter l’électronique de la moto à celle de la voiture.

En prime, plutôt que d’avoir un moteur inutile encombrant le garage lorsque le prolongateur d’autonomie n’est pas nécessaire, il est possible de remonter la fourche et la roue avant et ainsi d’avoir une moto. Vous pouvez également emporter l’ensemble avant avec vous lors de longs trajets en voiture avec une autonomie prolongée et avoir une moto utilisable lorsque vous arrivez à destination.
Bien que l’idée semble quelque peu farfelue et que nous ne nous attendons pas à voir un système comme celui-ci dans la rue de sitôt, il est intéressant d’avoir un aperçu du type d’intégration que les ingénieurs de BMW envisagent dans le futur des transports.







