Street
Publié le 14 août 2020 • 09:00 par Paul-Emile Viel

[Street] Bruit des motos : Comment est-il mesuré ? La FFMC appelle au respect des autres

La liberté des uns s’arrête où commence celle des autres… et ce principe ne nous laisse pas libre de casser les oreilles de nos voisins avec une moto, un scooter ou un comportement trop bruyant, rappelle la Fédération Française des Motards en Colère (FFMC).

La FFMC ne veut pas être donneuse de leçon, elle laisse à chacun la responsabilité de ses choix. Mais elle ne peut ni tolérer, ni cautionner certains comportements individuels qui ont un impact négatif sur l’ensemble de la communauté motarde et qui ne conduisent finalement qu’à limiter notre liberté de mouvement.

Pour cette raison, sans stigmatisation ni moralisation, la FFMC décline ce simple message de bon sens, sous forme de 4 affiches : pour être respectés, respectons les autres.

 

 

La nouvelle norme moto Euro5 ne se limite pas uniquement aux émissions polluantes : les émissions sonores sont aussi concernées, ce qui est assez logique compte tenu de l’évolution du nombre de véhicules motorisés que l’on croise chaque jour, notamment en ville.

L’Autriche interdit depuis peu l’accès aux routes du Tyrol aux deux-roues dépassant 95 dB en statique. Une mesure controversée dans le pays de KTM, car elle vise uniquement les motos et scooters. La France n’est pas en reste en matière de restrictions : la municipalité de Paris a installé des radars anti-bruit sophistiqués et 40 agents municipaux se consacrent désormais aux contrôles des deux-roues via un sonomètre. Quant à la vallée de Chevreuse, où de nombreux motards se donnent RDV chaque WE, est désormais équipée de radars de bruits.

Pourquoi les motos sont plus ou moins bruyantes, malgré leur échappement homologué ?

Nous nous sommes tous déjà faits la remarque : même avec les échappements d’origine, certaines motos sont plus bruyantes que d’autres. Le volume sonore maximal admissible pour réceptionner une moto est néanmoins le même pour toutes. Dans les conditions de la mesure de réception en dynamique (en 3eme à 50km/h), on ne doit pas dépasser 78 dB.

Une fois cette mesure effectuée, on relève à nouveau, cette fois ci à l’arrêt, le niveau sonore à la moitié du régime de puissance maxi. C’est cette valeur qui sera portée sur le certificat d’immatriculation. Cette deuxième mesure statique vise à permettre des contrôles routiers, par les forces de l’ordre, à l’aide de sonomètres classiques et d’une procédure de mesure « simple ».

Ceci explique que la valeur sur la carte grise n’est pas la même pour tout le monde. Elle peut être largement supérieure à 80 dB puisque les deux tests ne sont pas faits dans les mêmes conditions : le sonomètre est plus proche, notamment. Et être très différente selon les motos suivant la motorisation, la position du pot, la présence d’un carénage, le rapport de transmission en 3eme…

 

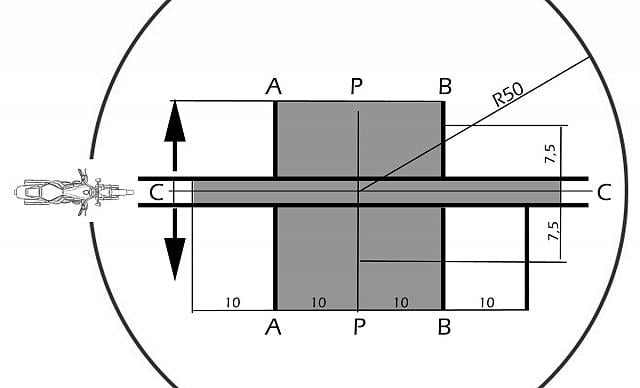
Le test dynamique Wide Open Throttle (WOT – gaz ouvert en grand), destiné à la réception

 

Pour faire simple, la moto roule à 50 km/h, sur le 3eme rapport, on ouvre en grand et on mesure le volume sonore percu à 7,5 m de la moto qui passe.

Les conditions précises de la mesure telles que la norme le décrit sont : le véhicule vient de gauche et suit la ligne C-C. En principe, il a une vitesse constante de 50 km/h, mais il peut arriver à une vitesse plus faible et accélérer plus tôt, à condition que la vitesse sur la ligne A-A soit exactement de 50 km/h. Lorsque l’avant du véhicule dépasse la ligne A-A, la commande des gaz doit être déplacée aussi rapidement que possible sur la position maximum des gaz et maintenue dans cette position jusqu’à ce que l’arrière du véhicule dépasse le B-B. A ce moment, la commande des gaz doit être ramenée au ralenti le plus rapidement possible. Les microphones pour la mesure du son sont placés sur la ligne P-P, à 7,5 mètres de la ligne C-C. La longueur totale de la plage de test est de 40 mètres. Dans un rayon de 50 mètres mesuré à partir du centre de la zone d’accélération, aucune structure ni aucun autre obstacle susceptible de refléter ou d’affecter le son ne peut être placé (illustré avec la ligne R50). Il existe de nombreuses autres exigences très détaillées pour l’environnement de test et le test sonore lui-même. Celles-ci sont décrites en détail dans le règlement 41 de la Norme CEE-ONU.

 

Le test statique

 

Un second test, dit statique, est réalisé. Le microphone est placé obliquement derrière la sortie d’échappement à une distance de 50 centimètres dans un angle de 45 degrés sur l’axe longitudinal du véhicule. Dans le cas d’un véhicule avec échappement des deux côtés du véhicule, on utilise deux microphones situés de part et d’autre du véhicule. La hauteur à laquelle les microphones sont placés est égale au point le plus haut de la sortie du silencieux, mais supérieure ou égale à 20 centimètres du sol. La mesure est effectuée à un régime moteur égal à la moitié du régime de puissance nominale. Si le régime maximal du moteur est inférieur ou égal à 5.000 trs/min, il est mesuré à 75% du régime de puissance nominale. L’espace libre autour du véhicule testé est d’aux moins trois mètres de tous les côtés.

Photos : FFMC