Honda relance sur le projet airbag moto en déposant trois nouveaux brevets. Contrairement au système déjà existant sur la Gold Wing, les solutions développées par la marque japonaise sont dédiées aux scooters de petite cylindrée.
Cela fait 15 ans que Honda a lancé le premier système d’airbag adapté à la moto de série en option sur la Gold Wing, en 2006. Après tout ce temps, elle reste la seule moto de série sur le marché à être proposée avec un airbag. Mais même si la technologie n’a pas été un succès du jour au lendemain, Honda est clairement toujours convaincu par l’idée, car l’entreprise a récemment déposé des demandes de brevet pour trois nouveaux modèles d’airbags qui pourraient un jour arriver sur des motos de série.
Le raisonnement de Honda derrière les airbags est sérieux. Selon les données de l’entreprise, qui datent de 2003, mais sont toujours d’actualité aujourd’hui, environ 68% des accidents de moto causant des blessures sont des collisions frontales, la grande majorité des blessures étant causées par les pilotes heurtant une voiture, la route ou un autre objet. Ainsi, la réduction potentielle des dommages qui pourraient être obtenus en insérant un coussin d’air moelleux entre le motard et ces obstacles en cas d’accident est importante.
Alors pourquoi le système s’est-il limité jusqu’à présent à la Gold Wing ? L’explication la plus probable est la modélisation. Pour déterminer comment rendre un airbag efficace, les concepteurs doivent pouvoir prédire le mouvement du pilote lors d’un accident. Dans une voiture, c’est facile, le conducteur et les passagers sont attachés et ne bougent pas beaucoup. Sur une moto, les motards ont tendance à s’incliner dans les virages, à se pencher d’un côté à l’autre. Ainsi, il n’y a aucune garantie de savoir exactement quelle sera la position exacte du pilote en cas d’accident. La Gold Wing est, une exception à cette règle : sa conduite étant plus adaptée aux grands axes et pas vraiment aux pilotes sportifs, sa selle est globalement conçue pour ressembler à ceux d’une voiture, minimisant les mouvements du conducteur et facilitant ainsi la conception d’un airbag qui lui sera adapté.

L’autre type de deux-roues qui répond aux mêmes critères est le scooter, et les derniers brevets Honda suggèrent que c’est là que l’entreprise concentre son attention maintenant. Principalement utilisés dans les villes, les scooters sont également plus susceptibles d’être victimes de l’accident classique où une voiture le coupe le chemin.
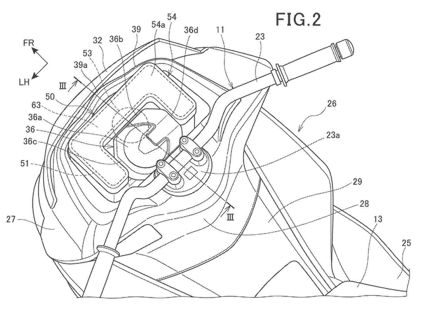
Les trois nouveaux modèles Honda sont tous illustrés sur un scooter Honda PCX, et même si les brevets se concentrent sur les airbags et leur forme, il n’y a aucune raison de penser qu’ils ne pourraient pas être utilisés sur d’autres deux-roues. Sur les trois modèles, la forme de l’airbag lui-même est très différente de celle du modèle existant en option sur la Gold Wing. Là où l’airbag de la Gold Wing est de forme classique, remplissant l’espace entre le pilote et le guidon lorsqu’il est gonflé, avec des sangles qui le maintiennent en position, les nouveaux designs montrent un design de style rideau, similaire aux airbags latéraux qui se déploient le long des fenêtres des voitures. Il semble que l’idée soit simplement de fournir un coussin qui couvre autant que possible la zone de collision afin d’atténuer les blessures dues à l’impact initial, plutôt que, comme sur la Gold Wing, de garder le pilote à sa position, à la manière d’une voiture.

Les nouveaux brevets se concentrent sur la façon de positionner l’airbag pour obtenir le « mur » de protection de style rideau. Dans le premier, l’airbag est positionné juste devant le guidon et se replie dans une enceinte en forme de C qui entoure le tableau de bord, la structure de l’airbag étant intégrée au support qui maintient le tableau de bord. C’est cette intégration qui constitue la base du brevet.

Dans le second brevet, l’airbag est monté plus en avant, entre le compteur et la bulle. Cela pose le problème de savoir comment permettre son expansion directement vers le haut, et la solution de Honda, qu’il vise à protéger avec ce brevet, est de permettre à l’ensemble de la bulle de basculer vers l’avant lorsque l’airbag se déploie. Ingénieux !

Enfin, le troisième brevet emprunte une voie plus simple pour positionner l’airbag, en le montant directement au-dessus du guidon. Cependant, reconnaissant qu’avoir un dispositif explosif à cette position pourrait poser problème, le brevet propose une solution consistant à monter cette cartouche explosive à distance, sur la colonne de direction, et de la relier l’airbag via un flexible. En cas d’accident, l’explosion se produit aussi loin que possible du pilote.
Les trois solutions proposées par Honda semblent avoir du sens, mais pourtant rien n’indique dans quelle voie Honda poursuivra son développement, si jamais ils choisissent d’intégrer un airbag sur les scooters. Ce qui est clair, cependant, c’est que le budget de R&D de l’entreprise est toujours consacré à l’idée d’airbags montés sur moto, même si les évolutions techniques dans ce domaine sont relativement lentes.






