Street
Publié le 15 juin 2021 • 09:00 par Paul-Emile Viel

[Street] Honda développe un système d’embrayage géré électroniquement, mais est-ce utile ?

Des dépôts récents auprès de l’Office des brevets des États-Unis révèlent que Honda travaille sur un système d’embrayage similaire à la gestion Ride-By-Wire, qui a le potentiel d’apporter des avancées technologiques assez remarquables aux motos. Les dépôts de brevets ne sont pas très faciles à comprendre ni à digérer, et ce système est-il vraiment utile ?

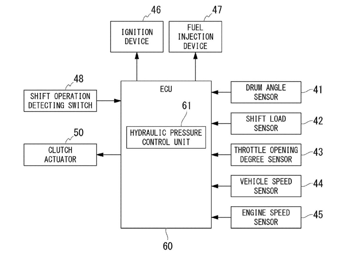
Comme les systèmes d’accélérateur Ride-By-Wire, où le câble d’accélérateur a été remplacé par un fil électrique et sont désormais légion sur les motos récentes, un embrayage géré électriquement par l’ECU pourrait faire son apparition chez Honda.

Le système Ride-by-wire, ou accélérateur par fil, utilise l’ECU afin de convertir la demande de couple moteur du pilote en position du papillon, avance à l’allumage et temps d’injection optimisés. De même, le système d’embrayage par fil de Honda éliminerait complètement l’utilisation d’un câble d’embrayage ou d’une configuration hydraulique conventionnelle. Au lieu de cela, la position du levier d’embrayage serait surveillée électroniquement et ces données seraient transmises à l’embrayage, lui indiquant quoi faire sans aucune connexion physique entre le levier et l’embrayage lui-même.

 

 

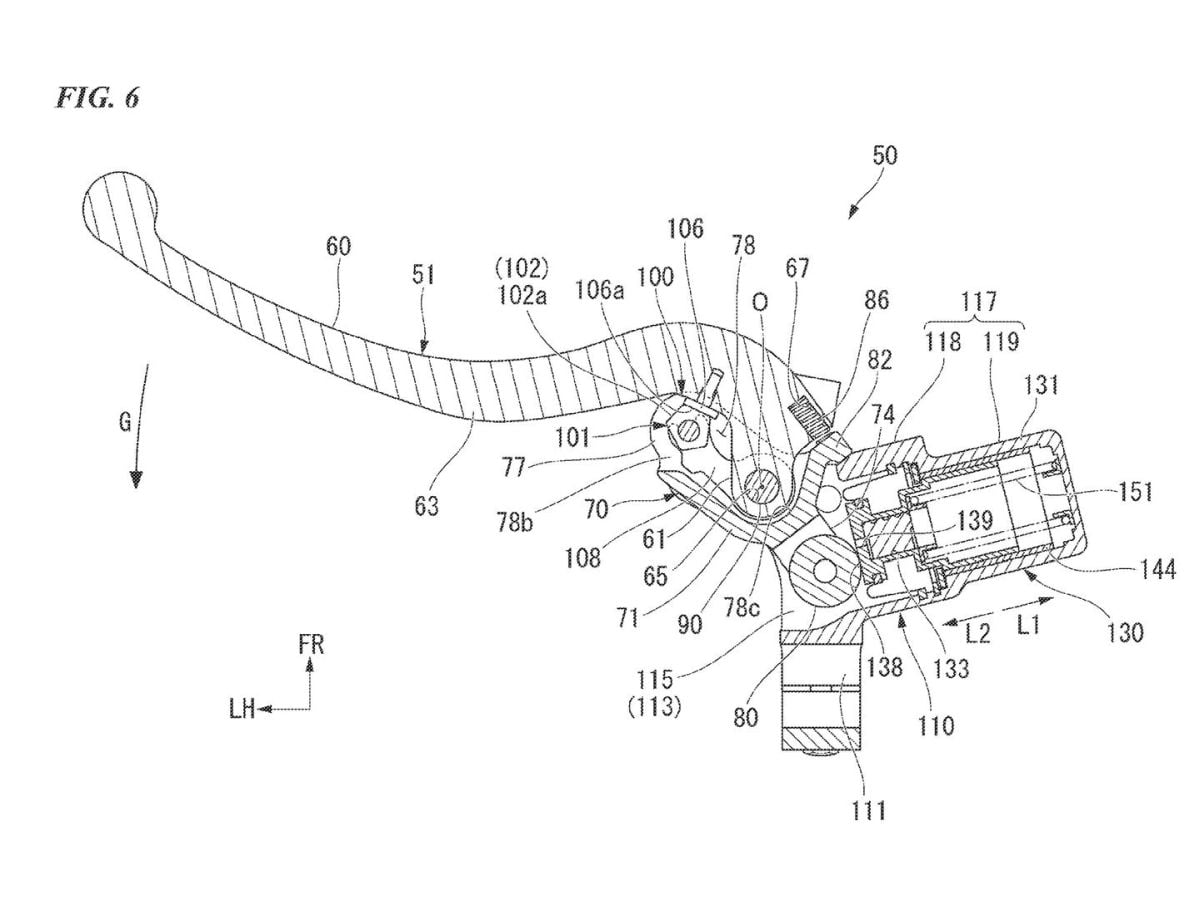
Selon les dessins du brevet, ce système utilisera une configuration traditionnelle de levier d’embrayage positionné sur le guidon. La pression hydraulique serait toujours utilisée pour engager l’embrayage, bien que via un moteur électrique plutôt que par une connexion physique directe de la main.

 

 

Mais à quoi ça sert, alors ? En théorie, ce type de configuration ouvre de nombreuses possibilités. Comme le Ride-by-wire, qui nous a apporté des évolutions technologiques telles que l’apparition des modes de conduite, le contrôle de traction et le launch control, l’embrayage développé par Honda sera capable de reconnaître lorsque la position du levier d’embrayage n’est pas optimale par rapport à la vitesse de la roue, au régime, etc. Des changements de vitesse plus fluides et plus précis sont une récompense évidente pour cette configuration, mais pensez au launch control : la moto peut désormais intégrer la position du levier d’embrayage en plus des données existantes telles que le régime ou encore la vitesse pour optimiser davantage l’accélération.

Compte tenu du succès de Honda avec la configuration de la transmission à double embrayage (DCT), nous ne voyons aucune raison pour que cette technologie ne devienne pas une réalité dans un proche avenir.