Un brevet déposé au Japon par Kawasaki protège un système qui permet de changer les vitesses au guidon et s’ouvre à la transmission automatique sur moto.
Les transmissions semi-automatiques ne pas nouvelles, Honda rencontrant un certain succès avec sa transmission à double embrayage DCT depuis 2009 et Yamaha proposant dès 2006 le système de changement de vitesse automatique YCC-S sur la FJ1300.
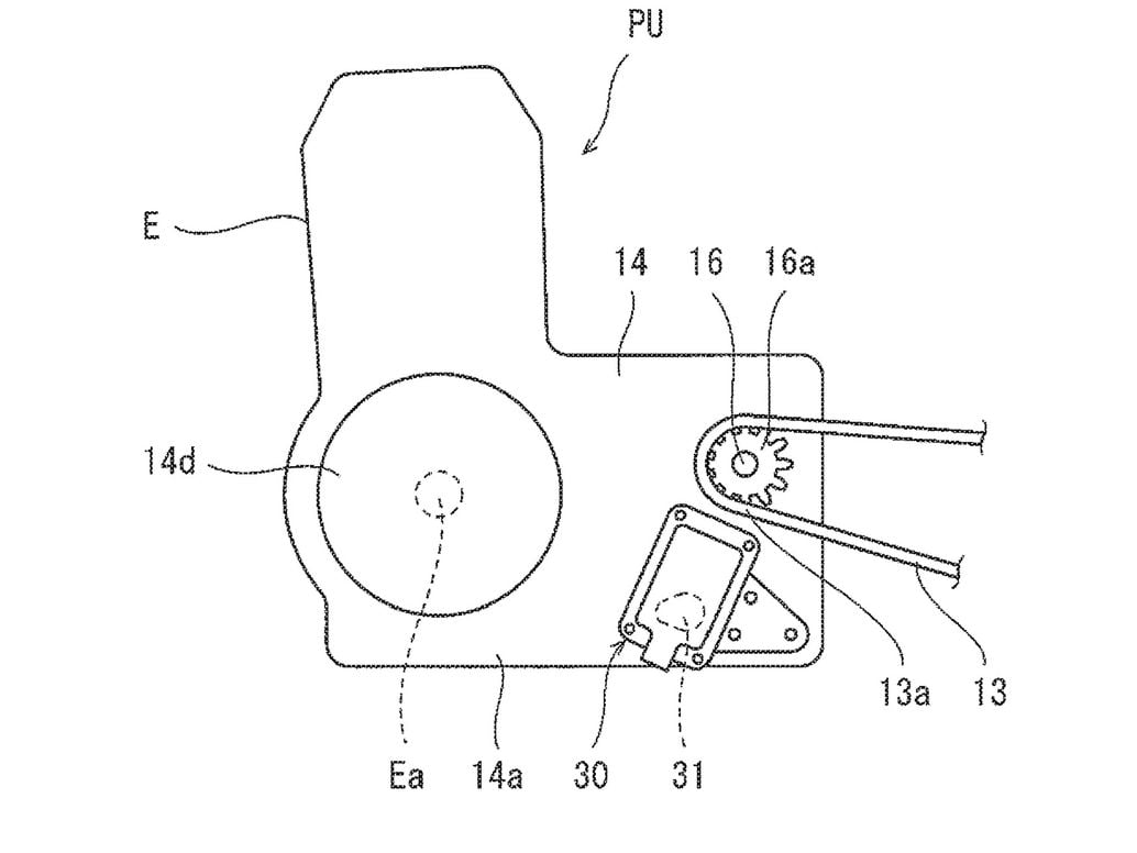
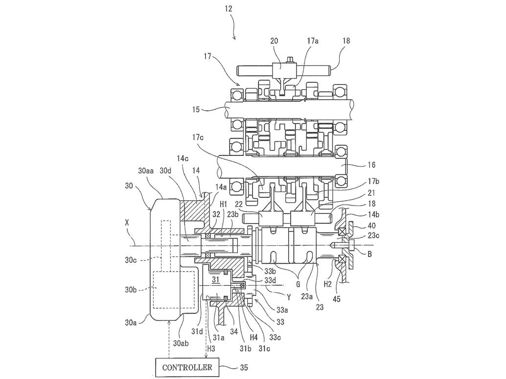
Un brevet déposé en 2019 a été rendu public, et montre que Kawasaki a commencé à développer une transmission à commande électronique qui pourrait être adapté à différents moteurs et donc à divers modèles de la gamme. Entre autres, la moto illustrée ne possède pas de levier d’embrayage, ce qui nécessiterait une application plus rationnelle combinée à un embrayage à commande électronique et automatisé.

Ainsi, le système développé par Kawasaki semble proposer un changement de vitesse conventionnel via un sélecteur au pied lorsque cela est nécessaire, mais en utilisant un actionneur électronique et des capteurs au lieu d’une liaison physique entre le pied gauche et le tambour de changement de vitesse.
Etant donné qu’il n’est plus nécessaire de disposer d’une liaison physique, cela permet de déplacer les reposes pieds sans avoir à se soucier de l’emplacement du sélecteur de vitesses, et de toute la tringlerie nécessaire, puisqu’un fil électrique suffirait désormais à le connecter à la transmission. On pourrait également imaginer remplacer le sélecteur au pied par des boutons montés sur le guidon.
Rien à voir avec un quickshifter, mais plutôt quelque chose qui va dans le sens d’une conduite simplifiée et plus confortable pour le pilote : plus de faux points morts, de sur-régimes ni de changements de vitesse mal synchronisés

Un changement de vitesse électronique est nécessaire pour réaliser une boîte de vitesses entièrement automatique, qui peut éventuellement interagir avec les cartographies moteur ou les systèmes d’aide à la conduite comme le régulateur de vitesse adaptatif.
Ce n’est pas une révolution en soi, mais une évolution donnant lieu à des perspectives intéressantes, et c’est aussi à ça que servent les brevets : à protéger une idée pour développer une nouvelle technologie.






