Street
Publié le 22 décembre 2020 • 09:00 par Michel Dubois

[Street] Le développement du 3 cylindres turbo Yamaha s’accélère

Lors d’une conférence technique, Yamaha a confirmé qu’ils développaient un prototype à trois cylindres turbocompressés, dans le but de tester divers moyens afin de se conformer aux futures normes antipollution. Depuis cette conférence, de nombreuses demandes de brevets ont été rendues publiques, dévoilant plus de détails sur cette future moto.

Le prototype, qui a été testé cette année, est capable de produire 180 ch à 8500 tr/min, avec un couple énorme de 175 N m disponible dès 3000 tr/min et jusque 7000 tr/min, tout en réduisant de 30% les émissions polluantes comparées à un moteur atmosphérique de puissance équivalente. Au cours de son développement, ce moteur a été installé dans un châssis de MT-10.

 

 

Bien qu’il soit possible d’obtenir une puissance similaire avec un moteur de cette cylindrée et sans turbo, il faudrait atteindre des régimes plus élevés pour y parvenir, sans pour autant atteindre un tel niveau de couple. Et atteindre des hauts régimes est un frein pour satisfaire les normes antipollution. En effet, à très haut régime, afin que les gaz d’échappement sortent du cylindre tout en ayant le temps qu’un mélange air/essence frais soit admis, cela nécessite un croisement de soupapes important – lorsque les soupapes d’admission s’ouvrent avant la fermeture des soupapes d’échappement. À bas régime, cependant, ce croisement des soupapes cause des problèmes d’émissions polluantes, car il laisse le temps au carburant non brûlé de sortir directement dans l’échappement. C’est déjà fortement problématique pour Euro 5, alors qu’en sera-t-il pour les futures normes Euro 6 ?

Il existe diverses solutions techniques pour pallier ce problème : la distribution variable (ou VVT, utilisé par exemple sur la BMW S1000RR) ou encore l’injection directe, mais les turbos ou les compresseurs fournissent également une puissance accrue sans avoir besoin d’atteindre de hauts régimes.

 

 

Contrairement à une automobile, la place sur une moto est comptée. Ainsi, installer un turbo et son intercooler nécessaire pour faire baisser la température de l’air d’admission est un problème. Il n’y a pas beaucoup d’espace et l’installation de pièces supplémentaires est toujours un casse-tête pour les ingénieurs et designers. Sans surprise, c’est l’objet de certains des derniers brevets de Yamaha sur les motos turbo.

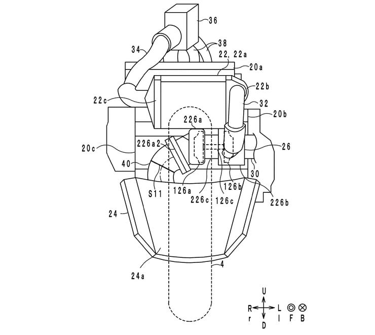
L’une des solutions techniques qu’a trouvé Yamaha, et soumise à une demande de brevet, explique pourquoi le radiateur et les ventilateurs de refroidissement sont étrangement positionnés. En effet, le radiateur est monté très bas devant le moteur, laissant de l’espace pour que le turbocompresseur soit installé au-dessus et que le refroidisseur intermédiaire soit encore plus haut, à la place conventionnelle d’un radiateur sur un moteur atmosphérique.

Le brevet de Yamaha explique que le radiateur surbaissé doit avoir un design spécifique pour s’adapter à l’arrière de la roue avant, mais aussi pour faire de la place aux ventilateurs situés derrière lui et l’empêcher d’être trop large.

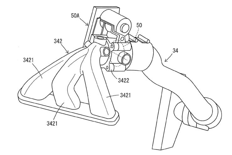
La société a également créé un collecteur d’admission très compact (ci-dessous), avec un seul papillon électronique permettant de contrôler la quantité d’air à haute pression entrant dans le moteur.

 

 

Un autre élément sur lequel Yamaha a déposé un brevet est l’échappement, qui est naturellement très différent d’un système conventionnel.

Positionner le turbo juste devant le banc de cylindres signifie que le collecteur 3 en 1 est relativement court, les 3 tubes d’échappement convergeant presque dès qu’ils quittent la culasse pour alimenter le turbo. Une fois que l’énergie des gaz d’échappement toujours en expansion a été utilisée pour activer le turbo, ils sortent de celui-ci dans un seul collecteur qui est visiblement plus large.

Le brevet déposé par Yamaha explique que cette large section d’échappement contient plusieurs convertisseurs catalytiques – un directement après le turbo et un autre dans la section horizontale de l’échappement, sous le moteur. Enfin, il y a un silencieux sous le pivot du bras oscillant, menant à une sortie d’échappement sur le côté droit. De manière impressionnante, l’échappement est en fait plus compact que ce à quoi on pourrait s’attendre sur une moto atmosphérique – en grande partie parce qu’il n’y a pas besoin de collecteurs dont la longueur est adaptée pour optimiser le flux d’échappement et le balayage des gaz.

 

 

Alors que le travail de développement de Yamaha a d’ores et déjà abouti à une machine très aboutie, il reste à confirmer si le projet aboutira à un modèle de série dans les années à venir, ou si cela restera une vitrine technologique. En effet, avec la pression toujours plus grande pour un transport sans émissions polluante fera peut-être se concentrer les constructeurs sur les modèles électriques dans les années à venir.