La plupart des gens semblent l’avoir oublié, mais Yamaha a adopté très tôt les motos hybrides. Revenez rapidement au début du 21e siècle et vous verrez que le constructeur d’Iwata était l’un des plus fervents partisans de l’idée des hybrides à l’époque. En fait, s’il n’y avait pas eu la crise financière de 2008, il se pourrait bien que ce type de motos soit sur le marché depuis une décennie.
Retour vers le futur
La technologie hybride faisait fureur entre 2000 et 2010. La Toyota Prius a prouvé au Monde entier que l’on peut diminuer sa consommation de carburant tout en ayant une voiture utilisable en ville, mais aussi sur de grands trajets. A l’époque, tous les concurrents du monde automobile se sont précipités sur ce secteur. Les véhicules tout électriques semblaient encore loin d’être viables à l’époque, avec des batteries lourdes, des autonomies faibles et des temps de charge très longs, les hybrides offraient donc un compromis parfait.
Mais pourquoi parler de Toyota ? Car Yamaha a des liens étroits avec Toyota, et lorsque la société a révélé son concept-bike Gen-Ryu au Tokyo Motor Show 2005 – combinant le moteur thermique d’une R6 avec un moteur électrique dans un étrange carénage digne d’un véhicule de Star Wars – la transmission à engrenages planétaires était très proche de celle d’une Toyota Prius, permettant ainsi à un moteur électrique/générateur d’être autonome sur une circulation à faible vitesse, d’aider le moteur à combustion sur les phases d’accélération ou encore de récupérer de l’énergie pour recharger les batteries.

Bien que clairement un concept assez sauvage, la technologie du Gen-Ryu était basée sur un véritable projet de R&D à l’époque, qui a donné suite quatre ans plus tard – toujours au Tokyo Motor Show – au concept HV-X beaucoup plus réaliste, alliant un moteur monocylindre de 250cc à un moteur électrique de 15kW (20cv), le tout monté sur un châssis de T-Max. Une batterie de 300 V se trouvait entre les jambes du pilote, avec un réservoir d’essence sous le siège.

Les brevets de conception de l’époque ont révélé une machine étonnamment prête pour la production en série. Il semble que le dévoilement discret de Yamaha, dans une simple vidéo, qui a eu lieu juste au moment où l’industrie de la moto se rétractait face à la crise financière, était dû au fait que le projet avait été abandonné à peu près au même moment.
Et maintenant ?
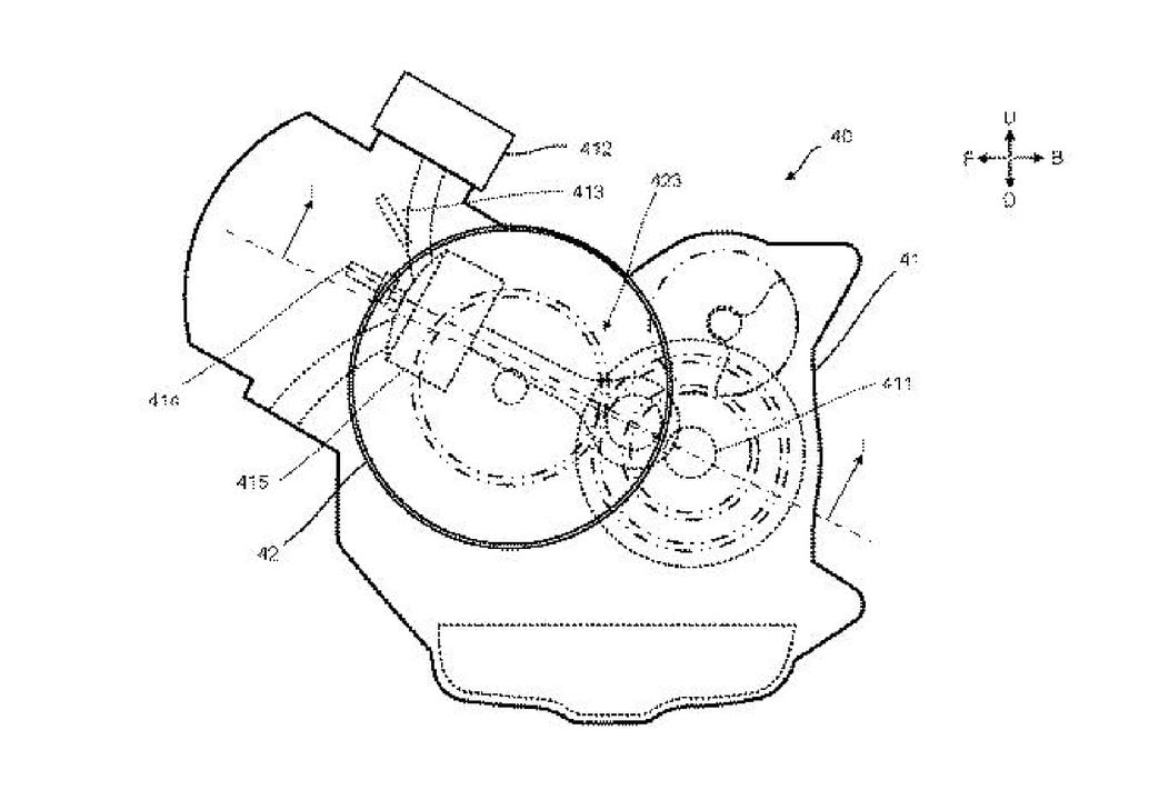
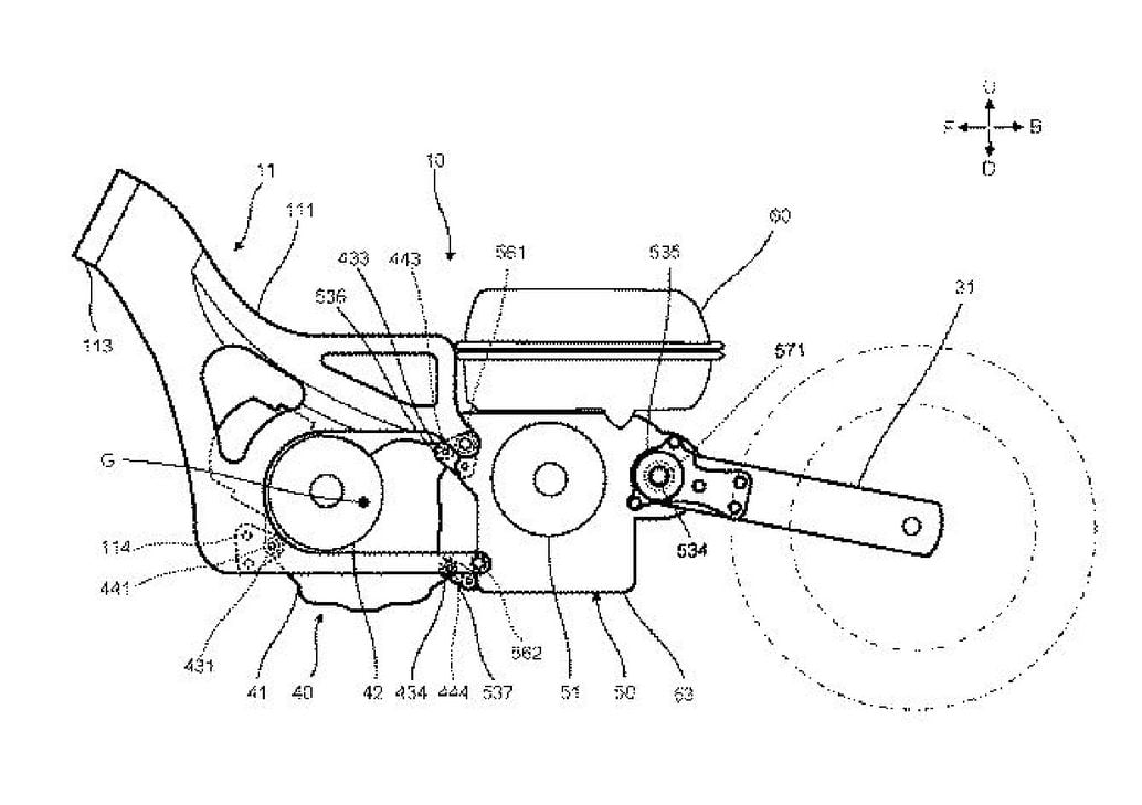
Bien que nous ayons vu quelques 2 roues hybrides être en vente sur le marché, comme le Piaggio MP3 Hybrid ou le Honda PCX Hybrid, ils suivent des conceptions relativement simples, utilisant un moteur électrique/générateur pour améliorer les performances d’un moteur à essence. Kawasaki a également développé des hybrides dans le même esprit ces dernières années. Une nouvelle demande de brevet au Japon a révélé que la société d’Iwata intensifiait à nouveau ses efforts sur les hybrides, mais avec une approche technique très différente.
Les projets Gen-Ryu et HV-X de l’époque étaient des conceptions hybrides dites « parallèles », comme sur une Toyota Prius, avec un engrenage planétaire reliant le moteur thermique et le moteur électrique à l’arbre de sortie. Grâce à divers calculateurs et une transmission par CVT, cela permettait d’adapter le fonctionnement à la demande de couple, en utilisant seulement le moteur à combustion interne, ou le moteur électrique ou une combinaison des deux, tout en permettant au moteur thermique de faire office de générateur lorsque les batteries avaient besoin d’être chargées.

Le nouveau design est désormais en « série ». Cela signifie que le moteur à combustion interne ne peut pas entrainer la roue arrière, mais alimente un générateur qui recharge la batterie – à l’instar de la BMW i3 équipée d’un REX (Range Extender ou prolongateur d’autonomie).
L’idée de prolongateur d’autonomie signifie que dans la plupart des cas, le véhicule serait purement électrique, ce qui lui permettrait d’être chargé via une prise et de rouler sans utiliser d’essence. Cependant, si la batterie commence à devenir faible ou si le moteur électrique demande plus de puissance qu’il ne peut en fournir, le générateur à essence se déclenche pour ajouter un coup de pouce supplémentaire ou recharger la batterie.

L’avantage de l’hybride « série » permet d’utiliser une batterie plus petite et une technologie de batterie moins chère et moins énergivore pour réduire le poids ou le coût par rapport à un véhicule entièrement électrique ayant des performances et une autonomie similaires.
Le brevet de Yamaha n’est pas une preuve concrète qu’un hybride est sur le point d’être ajouté à la gamme de l’entreprise Japonaise, mais il montre clairement qu’après une longue période à ne pas travailler sur cette technologie, l’entreprise investit à nouveau en R&D dans ce domaine.

Que ce soit l’idée de compromis entre la technologie écologique et zéro émission d’un véhicule électrique pur et l’aspect pratique d’une machine à essence dépendra de la façon dont on l’utilise, mais avec Yamaha et Kawasaki qui travaillent maintenant activement sur des projets hybrides, cela devient de plus en plus probable que des motos hybrides apparaissent chez nos concessionnaires habituels.






