Yamaha, la société basée à Iwata, continue de travailler sur le domaine de la suralimentation : le brevet déposé à l’époque pour la gestion de la suralimentation a été dévoilé et une hypothétique Yamaha MT Turbo semble plus proche.
Cela fait déjà plusieurs années que l’on sait que Yamaha travaille sur une version suralimentée de son trois cylindres et l’idée d’un roadster nu avec 180 chevaux et 18 Kgm de couple à un régime contenu a chatouillé l’imagination de beaucoup. La voie poursuivie par Yamaha dans le développement de ce projet semble en effet rechercher une réponse immédiate du moteur, disposer d’une alimentation riche en couple, contenir la vitesse de rotation maximale mais en obtenant en même temps une puissance excitante permettant toutefois de respecter les limites de la réglementation anti-pollution qui dans le futur deviendra de plus en plus contraignante.

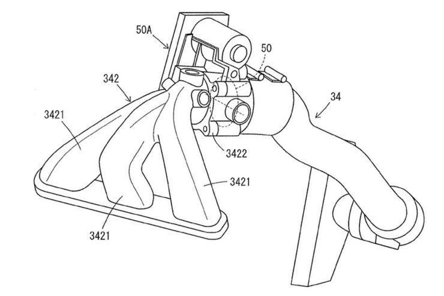
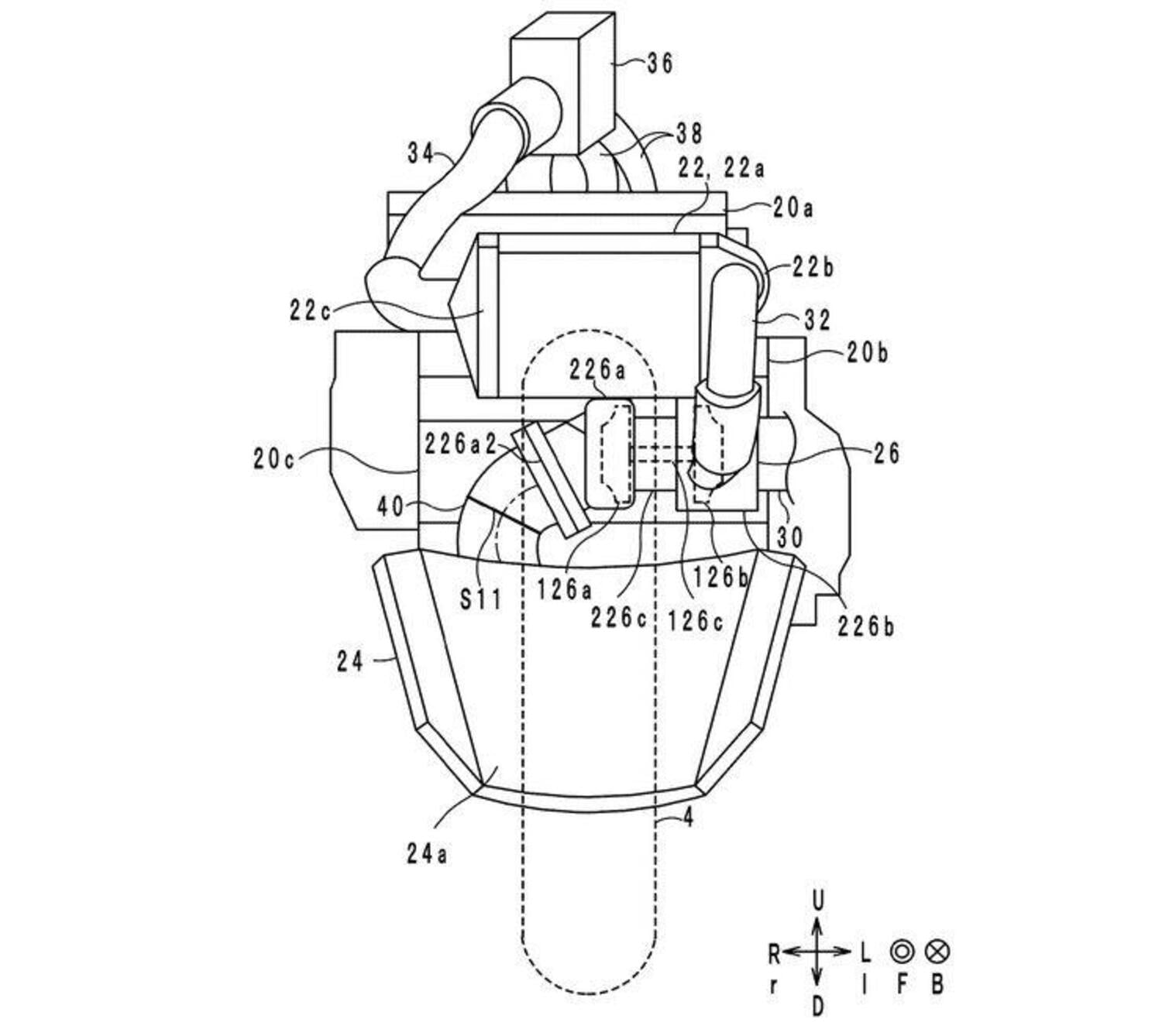
Pour ce faire nous sommes venus étudier – et c’est ce à quoi fait référence le brevet déposé en 2020 et délivré le 17 août 2022 déniché par Youngmachine – un système qui utilise une seule vanne papillon pour l’ensemble du groupe thermique, équipé à injection directe et turbocompresseur placé devant les cylindres, au lieu d’un corps papillon pour chacun des trois cylindres. Ce sont des technologies empruntées au secteur automobile où le brevet Yamaha pourrait effectivement être significatif pour réduire le retard de réponse du turbo, un aspect particulièrement critique sur la dynamique de conduite d’une moto.

L’impact de ce choix technique sur les performances semble donc avoir une réponse plus rapide, mais surtout pour maintenir les émissions au minimum : on parle d’une réduction de 30% de CO2 et en tout cas de plus de moitié pour le monoxyde de carbone et d’azote d’oxydes par rapport aux limites Euro 5 pour le trois cylindres en ligne de 847 cc, même cylindrée que la version précédente de la MT-09 atmosphérique mais équipée d’ un calage variable des soupapes, qui délivrerait ainsi 180 ch à 8 500 trs/min avec un courbe de couple très favorable et la valeur impressionnante de 18 kgm dans la plage d’utilisation qui va de 3 000 à 7 000 trs/min. Si la MT-10 est déjà connu pour sa puissance, imaginez ce qu’ils pourraient faire avec ce moteur…

Les dessins et la photo montrent le moteur équipé de la suralimentation monté, en fait, sur une MT-10, cela ne veut pas forcément dire que ce sera la moto désignée pour le recevoir, il s’agit – comme d’habitude dans le cas des brevets – d’une hypothèse d’étude et de développement et il n’est même pas certain que la moto ou le moteur turbo arriveront ensuite en série.






